LOGO 首页 OA教程 ERP教程 模切知识交流 PMS教程 CRM教程 技术文档 其他文档  
 
网站管理员

[点晴模切ERP]上月暂估红冲 你还在查找凭证逐一录入吗?

admin
2025年2月25日 22:45 本文热度 5230

/孔述           

月末(年末)货到、票未到的情况时有发生,为确保财务记录的准确性和及时性,需对货物的入库和相关业务进行合理的账务处理。通常的做法是采取暂估入账的方式进行务处理。

按照购货合同金额暂估入账,会计分录如下:

借:库存商品

贷:应付账款——暂估应付款

次月将此分录做红,即即反向分录。

但由于有些科目,如损益类科目-收入类要做在贷方,费用类要做在借方。而同一经济行为的冲回,应该录入相同方向的红字,即负数。一些软件报表生成规则也严格遵循这一规则,否则科目余额表和利润表数据会对不上。
    

因此,次月须用红字将上月的暂估入库分录进行冲回,会计分录为:

借:库存商品(红字)

贷:应付账款——暂估应付款(红字)

根据实到发票金额进行调整,会计分录为:

借:库存商品

借:应交税费——应交增值税(进项税额)

贷:银行存款或应付票据

关于销售与成本调整问题,要分两种情情况处理:

一、
暂估单价与实际收到发票的票载单价相关不大时,可以不作处理。

二、
暂估单价与实到票价相关较大时,需根据实际在销售环节,暂估的成本根据发票的实际金额进行调整,以确保销售成本的准确性。

因此,暂估入帐时把握好尺度很重要,一般企业由于进入渠道相对稳定,价格相关一般不会太大。
    

通过以上步骤,企业可以在发票未到的时期内,一旦发票收到,再按照实际金额进行更正,以维护财务报表的真实性和完整性。

但是,由于暂估凭证跨月。其回冲你还在查找上月凭证的相关分录还在逐一录入吗?

其实,一些财务软件如柠檬云可以一键生成。即简捷,又直观,也避免很多麻烦的手工工作。

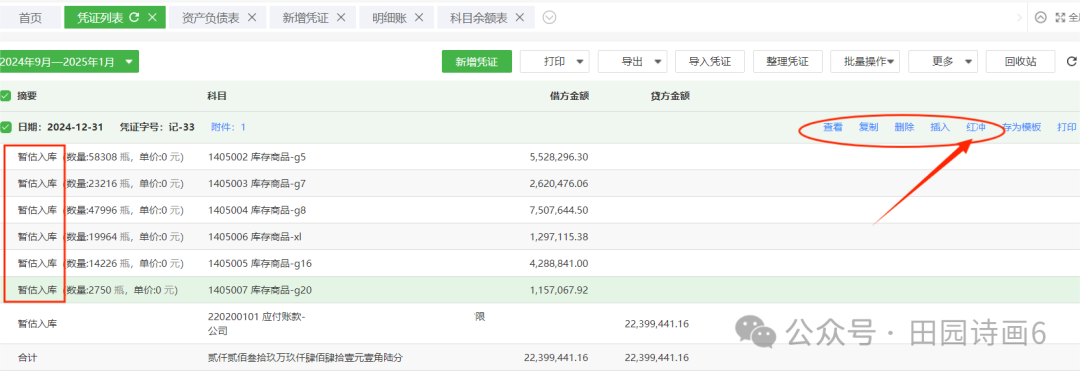
凭证列表输入会计期间,本例为上年到10月到25年1月(防止期间漏冲、重冲),搜索摘要关键词“暂估”,。


凭证列表一目了然,其中有“红冲”功能。点击红冲。

红冲情况。选择入帐的月分、日期,保存。摘要清晰显示红冲对应的月分、凭证号

红冲结果  列示两关联凭证红冲情况,并盖上“已红冲”印戳。不重、不漏。    

再来查看资产负债表情况。

但此前资产负债表是超过5000万的。而一般纳税人的优惠政策是从事国家非限制和禁止行业,且同时年(季)平均数满足“335”条件。资产超过5000万显然不能享受优惠。而红冲暂估后满足此标准。尽管此处为时间节点为月,非年(季)平均数,但尽量做到向“优惠条件”靠,且暂估数不是真实资产水平。    

是否享受小微优惠如何判断,参见以前期《函数功能的智能应用——MATCH函数》。


阅读原文:原文链接



点晴模切ERP更多信息:https://moqie.clicksun.cn,联系电话:4001861886

该文章在 2025/2/26 12:51:54 编辑过
关键字查询
相关文章
正在查询...
点晴ERP是一款针对中小制造业的专业生产管理软件系统,系统成熟度和易用性得到了国内大量中小企业的青睐。
点晴PMS码头管理系统主要针对港口码头集装箱与散货日常运作、调度、堆场、车队、财务费用、相关报表等业务管理,结合码头的业务特点,围绕调度、堆场作业而开发的。集技术的先进性、管理的有效性于一体,是物流码头及其他港口类企业的高效ERP管理信息系统。
点晴WMS仓储管理系统提供了货物产品管理,销售管理,采购管理,仓储管理,仓库管理,保质期管理,货位管理,库位管理,生产管理,WMS管理系统,标签打印,条形码,二维码管理,批号管理软件。
点晴免费OA是一款软件和通用服务都免费,不限功能、不限时间、不限用户的免费OA协同办公管理系统。
Copyright 2010-2026 ClickSun All Rights Reserved  粤ICP备13012886号-2  粤公网安备44030602007207号